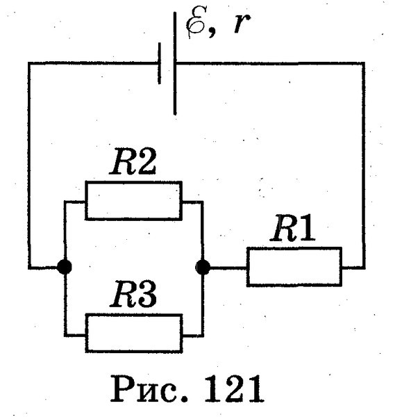
• Определите силу тока и падение напряжения на проводнике R1 электрической цепи, изображенной на рисунке 121, если R1 = 2 Ом, R2 = 4 Ом, R3 = 6 Ом, ЭДС аккумулятора = 4 В, его внутреннее сопротивление r = 0,6 Ом.

    question img

Ответы 2

  • Благодарю)
  • падение напряжения  равно 0.8*2=1.6
    answer img
    • Автор:

      benton
    • 6 лет назад
    • 0
  • Добавить свой ответ

Войти через Google

или

Забыли пароль?

У меня нет аккаунта, я хочу Зарегистрироваться

How much to ban the user?
1 hour 1 day 100 years