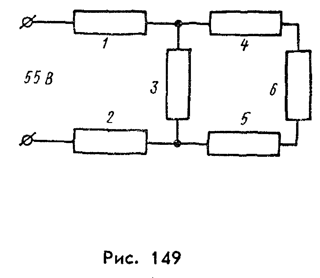
• сопротивление всех резисторов равны 2 Ом. найдите ток в цепи, если в нее подается напряжение 55 В
    ПОМОГИТЕ ПОЖАЛУЙСТААААА

    question img

Ответы 1

  • дано R1=R2=...........R6=2 Ом     U=55 В    I- ?1) при последовательном R456=R4+R5+R6=6 Ом2) для параллельного R3456=2*6/(2+6)=12/8=1,5 Ом3) R=R1+R2+R3456=2+2+1,5=5,5 Омпо закону Ома   I=U/R=55/5.5=10AОтвет I=10A
    • Автор:

      aleahxkpo
    • 6 лет назад
    • 0
  • Добавить свой ответ

Еще вопросы

Войти через Google

или

Забыли пароль?

У меня нет аккаунта, я хочу Зарегистрироваться

How much to ban the user?
1 hour 1 day 100 years