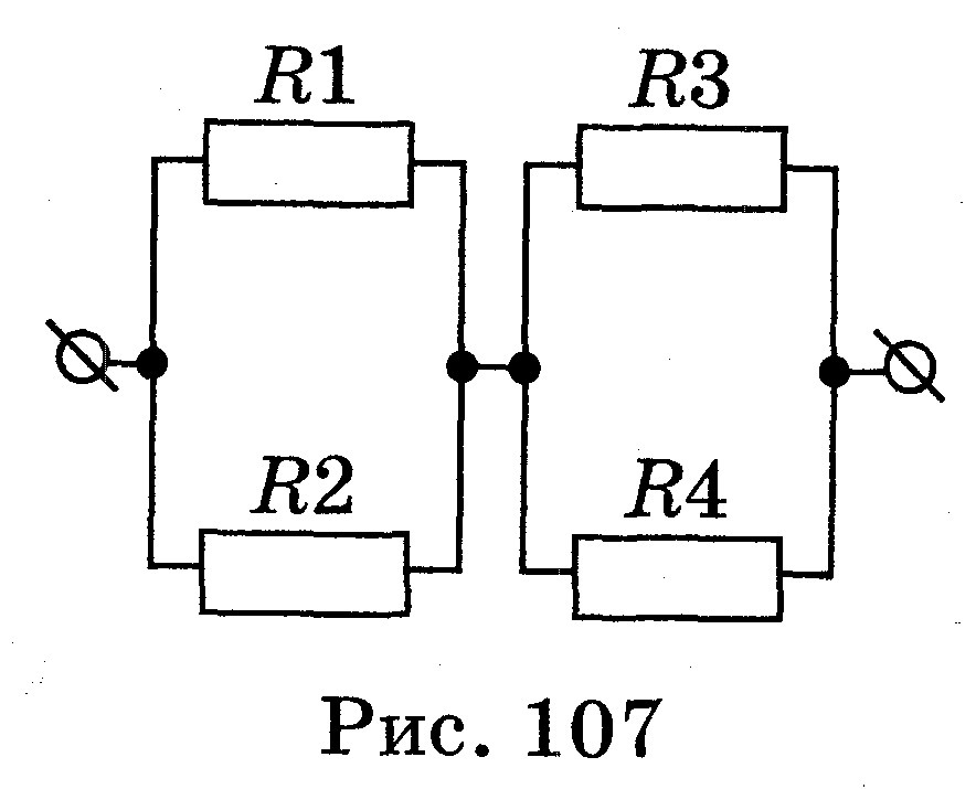
• определите общее сопротивление электрической цепи, если R1=8 Om,R2=2 Om, R3=4 Om, R4= 6 Om.

    question img

Ответы 1

  • Дано:                Решение:R1=8ОМ           R1,2=R1*R2/(R1+R2)=8*2/(8+2)=16/10=1,6омR2=2ОМ           R3,4=R3*R4/(R3+R4)=4*6/(4+6)=24/10=2,4омR3=4ОМ           R0=R1,2+R3,4=1,6ом+2,4ом=4ом          R4=6ОМ           Ответ:R0=4ом.Найти:R0
  • Добавить свой ответ

Войти через Google

или

Забыли пароль?

У меня нет аккаунта, я хочу Зарегистрироваться

How much to ban the user?
1 hour 1 day 100 years