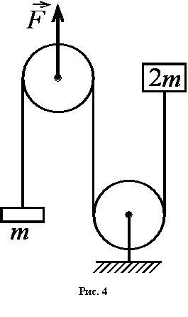
• На гладком горизонтальном столе находятся два груза массой m=1 кг и 2m=2 кг, соединённые невесомой и нерастяжимой нитью, и два лёгких блока, один из которых (правый) закреплен, другой (левый) — нет. Нить переброшена через блоки (рис. 4).

    На ось подвижного блока начинает действовать постоянная внешняя сила F=10 Н (рис. 4, вид сверху). Найдите ускорение блока. Ответ выразите в (м/c2), округлите до 0.01 и введите в поле ответа.

    question img

Ответы 4

  • Благодарю
  • Вы уверены?
    • Автор:

      payton67
    • 6 лет назад
    • 0
  • А то немного странно
    • Автор:

      bunnylhja
    • 6 лет назад
    • 0
  • но верно 20м/с2 потому Что 2*1*10=20м/с2
    • Автор:

      nasir
    • 6 лет назад
    • 0
  • Добавить свой ответ

Войти через Google

или

Забыли пароль?

У меня нет аккаунта, я хочу Зарегистрироваться

How much to ban the user?
1 hour 1 day 100 years