• РЫЧАГИ 1 ВОПРОС
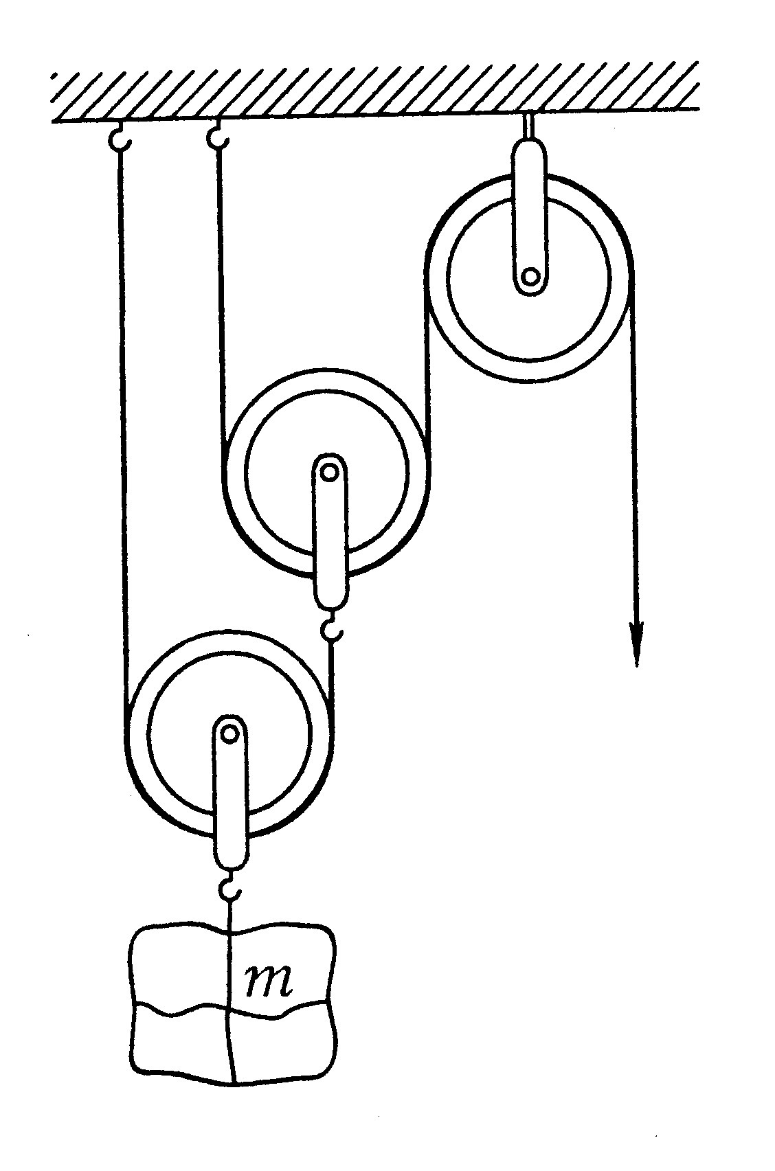
    Какой(-ие) блок(-и) является(-ются) подвижным(-и)?
    1) правый
    2) левый
    3) средний и левый
    4) средний и правый

    question img

Ответы 1

  • Ответ 3==========================
  • Добавить свой ответ

Войти через Google

или

Забыли пароль?

У меня нет аккаунта, я хочу Зарегистрироваться

How much to ban the user?
1 hour 1 day 100 years