• 7 КЛАСС РЫЧАГИ 1 ВОПРОС
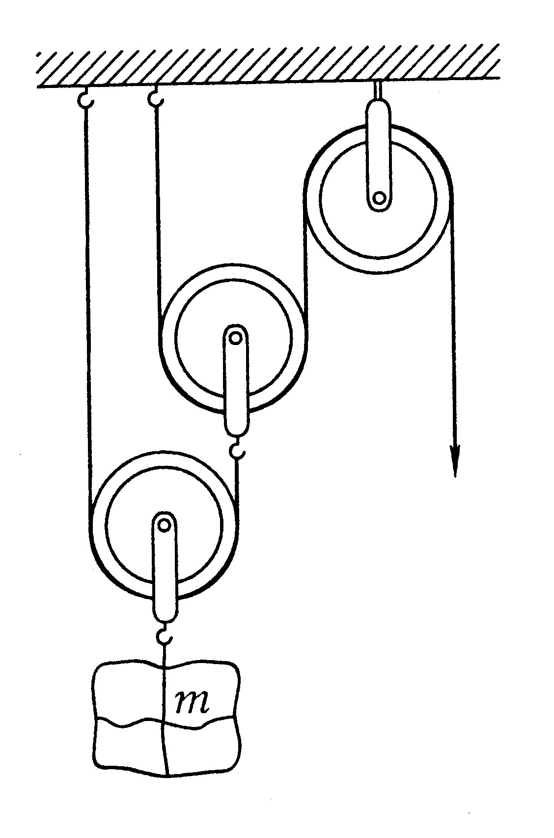
    Какую силу нужно приложить к концу веревки, чтобы поднять груз массой 200 кг?
    1) 1 000 Н
    2) 2000 Н
    3) 4 000Н
    4) 500Н

    question img

Ответы 1

  • На рисунке 2 подвижных блока (левый и в середине). Каждый дает выигрыш в силе в 2 раза, значит общий выигрыш в силе 4 раза.Вес груза P=m*g=200*10=2000 HF=P/4=2000/4=500 HОтвет 4====================
  • Добавить свой ответ

Еще вопросы

Войти через Google

или

Забыли пароль?

У меня нет аккаунта, я хочу Зарегистрироваться

How much to ban the user?
1 hour 1 day 100 years