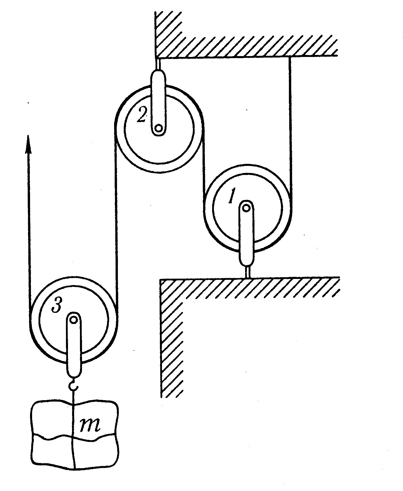
• Груз какой массы можно поднять, используя систему блоков, изображенных на рисунке, прилагая силу 500 Н?
    1) 100 кг
    2) 50 кг
    3) 500 кг
    4) 1000 кг

    question img

Ответы 1

  • Так как действует только сила притяжение Mg=FM=500/10=50
  • Добавить свой ответ

Войти через Google

или

Забыли пароль?

У меня нет аккаунта, я хочу Зарегистрироваться

How much to ban the user?
1 hour 1 day 100 years