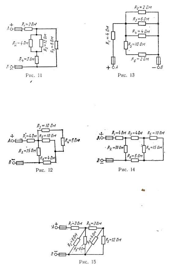
• цепь переменного тока содержит несколько резисторов,соединенных смешанно. схема цепи с указанием сопротивлений резисторов приведена на рисунке. определите общее сопротивление электрической цепи.
    самая нижняя схема.рис.15

    question img

Ответы 2

  • можешь расписать?
    • Автор:

      gisselle
    • 6 лет назад
    • 0
  • Эквивалентное сопротивление схемы на рис. 15 равно 5 Ом

    answer img
  • Добавить свой ответ

Войти через Google

или

Забыли пароль?

У меня нет аккаунта, я хочу Зарегистрироваться

How much to ban the user?
1 hour 1 day 100 years