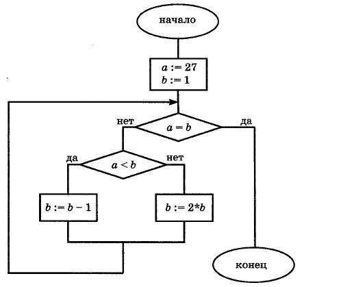
• Определите, сколько раз будет исполняться тело внешнего цикла:
    В ответе укажите только число (без каких-либо знаков препинания)

    question img

Ответы 1

  • Очевидно, что сначала будет выполняться оператор удвоенного произведения, так как условие a = b и a < b не будут выполняться. Теперь определим, сколько раз они не будут выполняться, то есть найдём количество операций, необходимое для выполнения условия a < b:

    1 · 2 = 2 (1-я итерация)

    2 · 2 = 4 (2-я итерация)

    4 · 2 = 8 (3-я итерация)

    8 · 2 = 16 (4-я итерация)

    16 · 2 = 32 (5-я итерация)

    На шестую итерацию условие a < b выполняется. Теперь мы считаем итерации до тех пор, пока не выполнится условие a = b:

    32 - 1 = 31 (6-я итерация)

    31 - 1 = 30 (7-я итерация)

    30 - 1 = 29 (8-я итерация)

    29 - 1 = 28 (9-я итерация)

    28 - 1 = 27 (10-я итерация)

    После десятой итерации выполняется условие a = b и программа завершается.

    Ответ

    10

  • Добавить свой ответ

Еще вопросы

Войти через Google

или

Забыли пароль?

У меня нет аккаунта, я хочу Зарегистрироваться

How much to ban the user?
1 hour 1 day 100 years