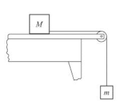
• На гладкой горизонтальной плоскости находится тело массы M. Другое тело массы m подвешено на нити, перекинутой через блок и привязанной к телу массы M. Найти ускорения тел и натяжение нити. Трением тела массы M о плоскость и трением в блоке, а также массами блока и нити пренебречь.

    Баллы получит человек, описавший подробное решение.

    question img

Ответы 2

  • Уравнение движения тела m m*g-T=m*a (1)  T- сила натяжения нити

    Уравнение движения тела M  T=M*a(2) Решая систему уравнений 1 и 2 методом подстановки получим a=m*g/(M+m)   T=M*m*g/(M+m)

  • Решение на рисунке во вложении.

    answer img
    • Автор:

      reese20
    • 6 лет назад
    • 0
  • Добавить свой ответ

Войти через Google

или

Забыли пароль?

У меня нет аккаунта, я хочу Зарегистрироваться

How much to ban the user?
1 hour 1 day 100 years