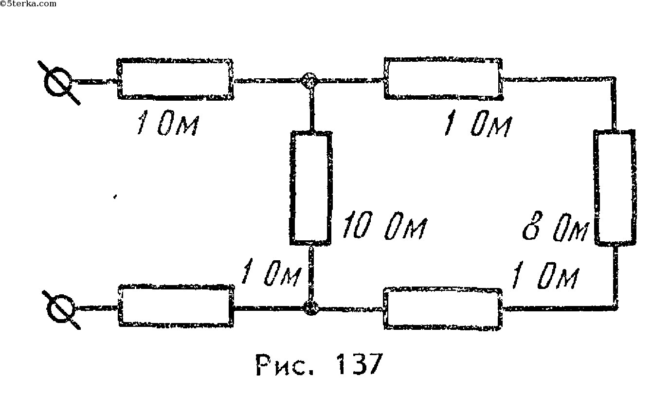
• Определите общее сопротивление цепи, изображенной на рисунке.
    Подробно распишите, если не сложно)

    question img

Ответы 6

  • = 1+8+1 = 10
    • Автор:

      olsen
    • 6 лет назад
    • 0
  • Здравствуйте, не могли бы вы мне помочь с тестом по физике? Он пройдет в субботу. Очень важный для меня, буду вам благодарен по гроб жизни!
  • кому пишешь заявку ?
  • Всем неравнодушным, личка закрыта теперь приходится так просить
  • ну да правильно. пиши хоть так
  • Правые три резистора соединены последовательно R123=R1+R2+R3=1=8+1=10 ОмСледующие да- параллельно: R1-4=R123*R4/(R123+R4)=10*10/(10+10)=5 ОмОстальная часть последовательно: R1-4+R5*R6=1*5+1=7 Ом
  • Добавить свой ответ

Еще вопросы

Войти через Google

или

Забыли пароль?

У меня нет аккаунта, я хочу Зарегистрироваться

How much to ban the user?
1 hour 1 day 100 years